Back to Home Page of CD3WD Project or Back to list of CD3WD Publications

Index.htm Thr410.htm

 

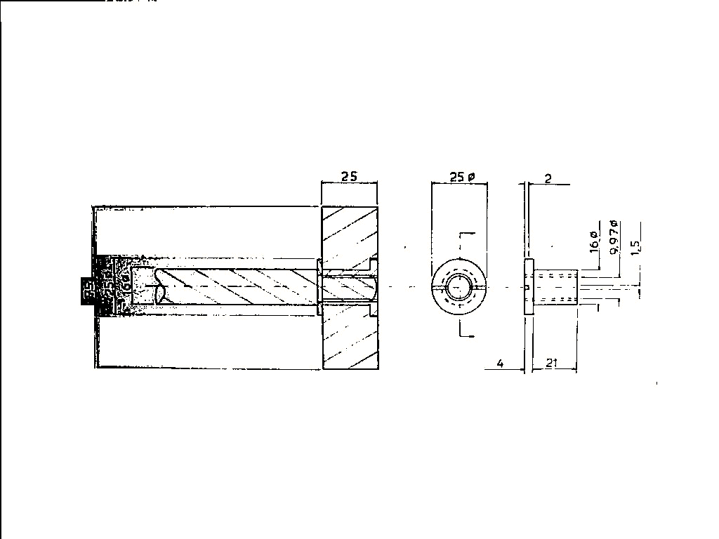
PEDAL THRESHER / MILL - BEATER/SPOKE NUTS, 12 PIECES, MILD STEEL