Back to Home Page of CD3WD Project or Back to list of CD3WD Publications

3. Diseño y funcionamiento

Indice - Precedente - Siguiente

Modificaciones necesarias
Modificaciones en la secadora
Secadoras en tandas
Modificaciones en las norias y otros equipos
Silo de enfriamiento (silo de seca-aireación)
Distribuidores de granos
Tamaño del silo
Cantidad de silos de enfriamiento
Caudales de aire
Temperatura y humedad de los granos
Medicion de la humedad y temperatura
Reposo
Enfriamiento
Influencia del aire exterior
Equipo refrigeradores de aire
Condensacion de humedad
¿Insuflar o aspirar el aire?
Termometria
Calculos para el diseño de sllos de seca-alreacion
Enfriadores

 

Modificaciones necesarias

La aplicación de seca-aireación puede hacerse de dos modos. El primero se refiere a plantas de acopio que se van a construir, las cuales ya se proyectan e instalan con la infraestructura propia del sistema. La otra alude a plantas de acopio ya existentes, con secado convencional, que es el caso mas frecuente. Esta ultima alternativa exige diversas modificaciones e inversiones en los equipos que se tienen, que se pasan a describir (figura 6).

Figura 6. Modificaciones o aspectos a ser tenidas en cuenta.
1 Separación entre la parte caliente y la fría.
2. Agregado de un quemador auxiliar.
3. Modificaciones en el quemador.
4. Descarga de la secadora.
5. Capacidad de los elementos de transporte.

Modificaciones en la secadora

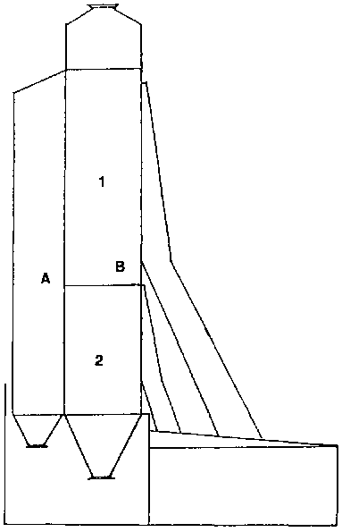
En las secadoras de flujo continuo tipo torre se debe suprimir la parte de enfriamiento pues como se dijo, el enfriamiento se realiza en un silo aparte. Para ello, en la mayoría de las secadoras basta eliminar la separación entre las partes calientes y fría. En la figura 7 se ilustra una secadora convencional tipo torre de flujo continuo. En la sección A y B se encuentra la separación de la parte caliente superior (alrededor de 2/3 del volumen total) de la parte fría inferior (alrededor de 1/3). Dicha separación se elimina, de manera que todo el volumen de la secadora trabaje ahora con aire caliente, con lo cual se gana un 30% de capacidad de secado.

Figura 7. Secadora de flujo continuo.
1. Sección aire caliente.
2. Sección aire frío.

En muchas secadoras, al aumentar el volumen de aire caliente, hay que aumentar también la generación de calor para que la temperatura del aire no se reduzca. Además el caudal de aire suministrado por el ventilador de aire caliente aumenta de un 10 a 15%, debido a la disminución de la pérdida de carga originada por un volumen de aire mas grande.

El generador de aire caliente debe entonces poseer una reserva de potencia térmica para mantener una temperatura adecuada del aire, pues en caso contrario, esta puede caer en forma apreciable y entonces pierde eficiencia la maquina. Esa mayor generación de calor puede conseguirse modificando o cambiando los inyectores (picos) del quemador, pero este trabajo puede ser perjudicial para la duración de todo el dispositivo y peligroso por razones de seguridad, por lo que conviene asesorarse adecuadamente con el fabricante de la secadora o del quemador.

La solución más racional es agregar un quemador extra al ventilador de aire frío, que se encargará de calentar a la temperatura correcta el volumen de aire frío. El agregar este quemador extra simplifica además cambiar la secadora de seca-aireación a operación convencional y viceversa, pues no se necesita siempre eliminar la separación entre partes fría y caliente.

Si no se quiere o no se puede agregar un quemador extra, es posible que en ciertos casos, deba clausurarse el ventilador de aire frío, pues si nó la temperatura del aire puede caer mucho.

En algunos tipos de secadoras es posible unir los plenums o salidas de aire de ambos ventiladores con alguna conexión de suficiente tamaño, de manera que parte del aire caliente generado pueda ser derivado hacia el ventilador de aire frío. Para ello la secadora deberá contar también con la suficiente reserva de potencia térmica.

Si estas modificaciones significan un aumento de la capacidad de la secadora, hay que tener en cuenta que la capacidad de descarga original de la maquina esté en concordancia con dicho aumento, lo que a veces puede no suceder. La mayor velocidad de descarga se necesita para igualar la mayor velocidad del grano en la secadora.

Secadoras en tandas

Estas secadoras se adaptan muy bien para seca-aireación, pues directamente se suprime el tiempo de enfriamiento en la secadora. Para dejar el grano con 16 o 17% de humedad, sólo es necesario acortar el tiempo de calentamiento. No se necesita hacer modificaciones en la secadora, En ellas se puede doblar con facilidad su capacidad de secado.

Son apropiadas para pequeños productores porque suelen tener menores capacidades.

Modificaciones en las norias y otros equipos

La noria (elevador de granos de cangilones o capachos) encargada de transportar el grano caliente y húmedo al silo de enfriamiento debe tener una capacidad por hora alrededor del doble de la capacidad original de la secadora, para mover rápidamente el grano y evitar que se enfrie durante el recorrido. Lo mismo puede decirse de otros tipos de transportadores y demás equipo, que deben adecuarse a esa capacidad extra que se gana con este sistema.

Si se trabajara en forma continua las 24 horas del día y con varios silos por secadora, hay que tener presente que se requieren tres norias: una para alimentar la secadora, otra para llenar los silos de enfriamiento y una tercera para llevar el grano de estos últimos al almacenaje definitivo, o para su despacho.

En el caso de utilizar un silo o varios silos para guardar maíz húmedo hasta que pueda ser secado, es posible que se precise otra noria para llenar aquellos. En algunas circunstancias, en plantas o bodegas de menor envergadura, las norias pueden ser reemplazadas por otros sistemas de transporte (tornillos, cintas transportadoras, roscas, etc.).

En la figura 8 se muestra un esquema de una planta de acoplo con secaaireación-para un proceso continuo de secado durante las 24 horas del día y con cuatro silos de enfriamiento.

Figura 8. Esquema de planta de acoplo con seca-aireación y proceso continuo las 24 horas.

Este esquema sólo incluye las instalaciones imprescindibles para un proceso como el indicado, pero no debe considerarse como un proyecto de diseño.

Si se emplean transportadores de tornillo, hay que tener presente que su capacidad se reduce también cuando se mueve grano húmedo y caliente, en comparación con grano seco y frío. Asimismo debe recordarse que los ángulos de los tubos de bayada deberán tener como mínimo 45° para asegurar una corriente rápida. Se recomienda igualmente que se consulte al fabricante de la secadora sobre las modificaciones a realizar. Ademas de estas modificaciones, existen otras que deben efectuarse en los silos de enfriamiento, que se señalan más adelante.

Otro equipo que puede causar un cuello de botella cuando se aumenta mucho la capacidad de secado es la limpiadora o clasificadora, la que tendrá que ser cambiada o modificada para adaptarla a la nueva situación.

Silo de enfriamiento (silo de seca-aireación)

Junto con la secadora, es un elemento fundamental en seca-aireación. Gran parte del éxito de este método reside en un correcto diseño de este silo, con el fin de que el proceso dure el tiempo suficiente para tratar adecuadamente al grano y no se demore excesivamente el trabajo de la planta de acopio.

En esta publicación se dan los principios primordiales que deben tenerse en cuenta para el buen funcionamiento de los silos de enfriamiento y algunos detalles importantes de su construcción, pero el diseño final del silo debe estar a cargo de profesionales espécializados, ya que el mismo exige una serie de cálculos especificos como toda obra de ingeniería de este tipo.

Como la aireación es el principal componente de este silo, hay que manifestar en primer lugar que su diseño debe ser tal que toda la masa del grano se encuentre ventilada, para que no queden lugares sin ventilar en donde puedan producirse focos de deterioro.

En Estados Unidos se utilizan mucho los silos de fondo plano perforado porque la aireación resulta mas pareja, sin embargo tienen el problema de la dificultad de su descarga que es más lenta, o resulta más costosa la inversión porque necesitan descargadores y barredores de tornillo sinfín (figura 9).

Los silos con fondo de tolva cónica son también apropiados, pero se requiere equiparlos con un eficiente sistema de aireación a base de tubos perforados. Estos silos tienen la ventaja de su gran rapidez de descarga, factor muy importante en seca-aireación.

Los franceses han proyectado un silo de enfriamiento como el que aparece en la figura 10. Tiene un fondo plano totalmente perforado, pero inclinado, de manera que la descarga pueda hacerse por gravedad hacia un costado. La boca de carga superior del silo está desplazada. de tal forma que al caer el grano asuma la forma de su talud natural, para que la superficie del grano quede aproximadamente paralela al fondo del silo. Asi las distancias del recorrido del aire serán muy parecidas entre si, factor fundamental para una buena aireación.

Figura 9. Silo de fondo plano.

Figura 10. Silo de enfriamiento (francés).

Distribuidores de granos

Si bien no son imprescindibles, los distribuidores de granos en la boca de carga del silo resultan muy útiles para distribuir uniformemente el material en todo el silo. Tienden a compensar la acumulación de impurezas (borra) y suciedad en la parte central de los silos durante su llenado, pudiendo formar bloques que pueden endurecerse y que causan problemas al resto de la masa de granos durante la descarga.

Las impurezas (borra) del maíz caliente y húmedo es pegajosa y propensa a acumularse y compactarse en mayor escala que cuando el grano está seco y frío.

Tamaño del silo

El tamaño o capacidad del silo debe estar adecuado a la capacidad de la secadora. Se recomienda que tenga una capacidad igual a ocho o diez horas de funcionamiento de la secadora. Por ejemplo, si la secadora tiene una capacidad de 40 toneladas por hora (debido a la seca-aireación), el silo deberá tener entre 320 y 400 toneladas.

Se pueden emplear silos algo mas grandes, pero con la condición que la altura del grano no supere los 8 o 9 m., pues a mayores alturas se requieren potencias muy elevadas, debido al caudal necesario en seca-aireación.

Un silo de 8 m de diámetro, lleno hasta una altura de 8 m., tiene una capacidad de unas 300 toneladas, tamaño conveniente, digamos, para unas 10 horas de trabajo de una secadora rindiendo 30 toneladas por hora.

Para facilitar la aireación la proporción adecuada es una altura de grano igual o similar al diámetro del silo. También puede ser una relación 5/3 (diámetro/altura) pues ésta reduce la resistencia al paso del aire.

Cantidad de silos de enfriamiento

Se ha mencionado que el silo de enfriamiento debiera tener una capacidad para satisfacer unas 8 a 10 horas de trabajo en la secadora. Pero en operaciones continuas donde la secadora trabaja más horas o las 24 horas del dia, será necesario contar con dos o más silos por cada secadora.

Este concepto es substancial porque si faltan silos de enfriamiento, son éstos los que van a limitar la capacidad de secado y no la propia secadora.

Un ciclo completo de seca-aireación puede demandar 20-24 horas continuas, dividido de la siguiente forma:

Secado y llenado del silo de enfriamiento 8 horas
Reposo (simultáneo) 8 horas
Aireación 12 horas
Descarga 4 horas
  Total 20-24 horas

El reposo puede iniciarse cuatro horas después de empezar el llenado y tardará otras cuatro horas luego de prendida la aireación, de manera que es simultáneo con ambos períodos.

Ejemplos: Sea una secadora de 40 ton/hora (capacidad de fábrica) que rinde 25 ton/hora en secado convencional. Convertida a seca-aireación, aumentó su rendimiento un 60%, es decir, que llega a una capacidad real de 40 ton/hora.

CASO 1. SECADORA TRABAJANDO 24 HORAS POR DIA (960 TON)

A) con dos silos de enfriamiento de 500 tan cada uno.

  Silo 1 Silo 2
Secado y llenado 8 a 20 hrs. 20 a 8 hrs.
Reposo 8 en adelante 20 en adelante
Aireación 13 a 2 hrs. 1 a 14 hrs.
Descarga 2 a 8 hrs. 14 a 20 hrs.

B) con tres silos de 350 tan cada uno.

  Silo 1 Silo 2 Silo 3
Secado y llenado 8 a 16 hrs. 16 a 24 hrs. 24 a 8 hrs.
Reposo 8 en adelante 16 en adelante 24 en adelante
Aireación 12 a 2 hrs. 20 a 10 hrs. 4 a 8 hrs.
Descarga 2 a 8 hrs. 10 a 16 hrs. 18 a 24 hrs.

C) con cuatro silos de 250 tan cada uno.

  Silo 1 Silo 2 Silo 3 Silo 4
Secado y llenado 8 a 14 hrs. 14 a 20 hrs. 20 a 2 hrs. 2 a 8 hrs.
Reposo 8 en adelante 14 en adelante 20 en adelante 2 en adelante
Aireación 14 a 4 hrs. 20 a 10 hrs. 2 a 16 hrs. 8 a 22 hrs.
Descarga 4 a 8 hrs. 10 a 14 hrs. 16 a 20 hrs. 22 a 2 hrs.

CASO 2. SECADORA TRABAJANDO 12 HORAS POR DIA (480 TON), CON DOS SILOS DE 250 ONELADAS CADA UNO:

  Silo 1 Silo 2
Secado y llenado 8 a 14 hrs. 14 a 20 hrs.
Reposo 8 en adelante 14 en adelante
Aireación 16 a 14 hrs. 22 a 10 hrs.
Descarga 4 a 8 hrs. 10 a 14 hrs.

La diferencia en el tamaño de los silos se manifiesta en la potencia de los ventiladores; mientras que un silo de 400 toneladas puede necesitar más de 30 CV en sus ventiladores, uno de 250 toneladas para el mismo caudal unitario, solo necesitará 15 CV.

Es importante en todos los casos que la capacidad de descarga del silo y de la noria este en concordancia con los tiempos fijados en estos cronogramas.

Caudales de aire

Los caudales de aire pueden ser expresados en m3 por hora y los caudales unitarios en m3 por hora y por m3 de grano, o en m3 por minuto y por tonelada de grano (cuadro 1).

De acuerdo a Lasseran, en seca-aireación se requieren unos 800 m3 de aire por cada tonelada de grano. Para un periodo de enfriamiento de unas 12 horas, corresponde un caudal unitario de unos 67 m3 por hora y por tonelada, o sea 1,1 m3 por minuto y por tonelada.

Caudales unitarios de 0,5 a 1,2 m3/min/ton son los más empleados en secaaireación. Estos valores son de 2 a 3 veces mayores que los caudales normalmente empleados en la aireación coman. En seca-aireación no pueden usarse caudales menores a los indicados, porque se demora el proceso de secado y enfriamiento en el silo, lo que puede ocasionar problemas de deterioro del grano. Tampoco convienen caudales mayores, pues pueden producir un alto porcentaje de fisuras en los granos. Además caudales mayores que los recomendados, forzarán al aire a salir antes que tenga tiempo de recoger suficiente humedad, lo que significa un desperdicio de energía.

Se ha comprobado que capas con poco espesor de grano producen enfriamientos disparejos y tiempos más prolongados. Esta situación sugiere el empleo de los caudales más altos cuando se usan capas delgadas (menos de 4 m) y, por el contrario, elegir un caudal menor cuando se trata de capas profundas.

Cuadro 1: Caudales de aire para aireación de granos.

EQUIVALENCIAS

m3/mia/ton m3/min/m3 m3/hora/m3 cfm/bu
0,1 0,076 4,6 0,094
0,2 0,1 5 9,0 0,1 9
0,3 0,23 13,8 0,28
0,4 0,30 18,0 0,38
0,5 0,38 22,8 0,47
0,6 0,46 27,6 0,57
0,7 0,53 31,8 0,66
0,8 0,61 36,6 0,75
0,9 0,68 40,8 0,85
1,0 0,76 45,6 0,94
1,2 0,91 54,6 1,1 3
1,4 1,06 63,6 1,32
1,5 1,1 4 68,4 1,41
2,0 1,52 91,2 1,89

1 cim/bu (pie cubico por minuto por bushel) - 1,06 m3/mint/ton.
1 m3 1.000 litros.

Debe advertirse que la potencia del ventilador se acreciente casi cinco voces cuando el caudal unitario es doblado (ver cuadro 2).

Dentro de la amplitud recomendada (0,5 a 1,2 m3/min/ton), los caudales mayores producirán una mayor velocidad del frente de enfriamiento, pero la velocidad de secado no aumenta tanto.

Una forma de aumentar el caudal de aire es aumentar las revoluciones por minuto (rpm) del ventilador, pero la potencia necesaria aumenta en proporción al cubo de la velocidad. Ello no se consigue cambiando la polea de mando por una de mayor tamaño, pues quizá no exista potencia suficiente; la solución es un motor más potente.

Por estas razones las potencias de los motores en los silos de enfriamiento son mayores que las comúnmente utilizadas en aireación.

Temperatura y humedad de los granos

Una clave para el buen funcionamiento del sistema, consiste en la salida del grano de la secadora con destino al silo de enfriamiento, a la temperatura y humedad correctas.

Con respecto a la temperatura, se considera que la salida del grano a 60° C constituye un valor satisfactorio para este proceso. Cuanto mayor sea la temperatura del grano a la salida, más corto será el periodo de enfriamiento y secado, pero no se debe exceder ese valor de 60° C pues se le considera el limite para no afectar la calidad del grano. Desde este punto de vista es muy importante considerar el uso posterior que van a tener los granos.

Reducciones de las temperaturas del grano afectan principalmente la cantidad de humedad que se le puede extraer. Según Foster (9), maíz a 53° C puede perder de 1,5 a 1,9 puntos de humedad durante el enfriamiento; maíz a 61° C puede perder de 1,7 a 2,3 puntos y maíz a 67° C puede perder de 2,0 a 3, 1 puntos.

En resumen, es necesario preocuparse porque la temperatura de salida del grano se mantenga alrededor de 60° C, por medio de alguna de las modificaciones propuestas en la secadora. La temperatura del aire de secado tendrá algunas variaciones de acuerdo a los distintos tipos de secadoras, pues depende del diseño de la máquina. Como ya se dijo, puede ser unos 10 a 15° C superior a la del secado convencional.

El grano debe ser transportado al silo de enfriamiento en la forma mas rápida posible, a fin de que no pierda calor. En seca-aireación no se aconseja efectuar una limpieza del grano a la salida de la secadora, pues puede perder calor y reducir así la eficiencia del proceso.

En algunas instalaciones de seca-aireación no se consigue que el grano salga a 60° C o cercano a ella, sino a menor temperatura (40° a 50° C) y entonces su periodo de enfriamiento se alarga.

Las causas de ello se originan en la caída de la temperatura del aire de secado, ya sea por falta de control, ya sea porque no lo permite el quemador original, o porque no se colocó un quemador extra en la secadora.

La razón de la conveniencia de una buena temperatura del grano está dada porque el aire exterior que ingresa al silo se calienta hasta la temperatura del grano, lo cual lo convierte en un buen aire secante, ya que baja considerablemente su humedad relativa y al mismo tiempo produce un efecto refrescante muy intenso.

La humedad del grano que sale de la secadora también es factor importante del rendimiento del sistema. Cuando mayor sea la humedad de salida, mas alto será el rendimiento de la secadora.

Siempre hay que recordar que cuanto más húmedo y caliente se encuentre un grano, mayor será el peligro de su descomposición o deterioro, situación que puede presentarse si el periodo de enfriamiento es demasiado prolongado. Además hay que tener presente que se produce una gran cantidad de vapor húmedo que ocasiona problemas cuando se condensa en el mismo silo, situación que se discute más adelante.

En Estados Unidos y Francia el grano suele entrar con 17 a 18% de humedad al'silo de enfriamiento, mientras que en Argentina entra con alrededor del 16% En esos paises las humedades de comercialización son altas, del 15,5%, lo que íes permite aquellos mayores niveles. Para las condiciones de la zona maicera argentina, las humedades y temperaturas recomendadas del grano a la salida de la secadora son 16-16,5% y 55-60° C, respectivamente.

Medicion de la humedad y temperatura

Como es Iógico suponer, la medición de humedad y temperatura a la salida de la secadora es una práctica recomendada para controlar la eficiencia del proceso.

Medir la humedad de un grano que se encuentra a 60° C es muy inseguro con los humedimetros corrientes empleados en los centros de acopio. Es necesario enfriar la muestra. Para ello se aconseja colocar la muestra en una corriente de aire de un ventilador coman doméstico por unos dos o tres minutos. La muestra se enfria sin peligro de que pierda humedad, por el poco tiempo de exposición y entonces se hace la medición. Si la muestra se agita, se enfriará más rápido.

Se pueden construir dispositivos simples para enfriar rápidamente las muestras, como el que se describe en la figura 11.

Una lectura correcta de humedad se obtiene colocando la muestra en un frasco hermético de vidrio, y midiéndola 24 horas más tarde. Si se comparan estas lecturas con las efectuadas después de un enfriamiento rápido, se podrá obtener un factor de corrección.

Para medir la temperatura, hay que contar con un recipiente térmico, para evitar que se enfrie durante la medición. Se coloca primero una muestra en el recipiente de la medición para calentarlo durante un minuto; luego se la saca y se coloca otra muestra junto a un termómetro y se hace la lectura a los 2-3 minutos.

Es importante que las muestras que se obtengan de la secadora sean representativas; por lo menos debieran sacarse tres muestras suficientemente espaciadas durante la descarga.

Figura 11. Dispositivo para enfriar muestras.

Reposo

El periodo de reposo se inicia cuando el grano caliente y húmedo proveniente de la secadora va llenando el silo de enfriamiento. El grano en esas condiciones debe permanecer en reposo, sin ser aireado, por un periodo de tiempo no menor de cuatro horas. Tiene por objeto permitir que se igualen las humedades del grano, entre el exterior y el interior del mismo.

Al uniformar las humedades en toda la masa del grano, este reposo evita la aparición del llamado "revenido'', que consiste en el aparente aumento de la humedad del grano por su transferencia del interior al exterior de su masa.

Cuando un grano es sometido al secado artificial, la acción del aire seca mas tas capas superficiales que el interior del mismo. Por ello, cuando se mide la humedad del grano con los humedimetros comunes de resistencia eléctrica o capacitancia, se está registrando la humedad exterior y no la interior, que puede ser uno o dos grados mayor (figura 12).

Figura 12. "Revenido''del grano.

Cuando el grano queda en reposo, la humedad interior tiende a desplazarse hacia el exterior, de manera que después de varias horas, la humedad medida nuevamente con el mismo aparato puede ser mayor en aproximadamente un punto o grado.

Por esta razón, el grano de maíz en el secado convencional suele retirarse con 13% de humedad, para que después no sobrepase mucho el 14%.

La mejor manera de medir la humedad del grano es emplear los métodos de referencia que existen para cada grano. Uno de los más empleados es el de la estufa al vacio o con corriente de aire, en el cual por calentamiento se evapora la humedad de los granos, midiendo la variación de peso. Otro método que también puede emplearse es el de Brown Duvel en el que la humedad se mide por destilación del agua. Ambos procedimientos tienen el inconveniente de su duración o la necesidad de equipos especializados, por lo que no siempre son prácticos en los centros de acopio o para los productores.

Eliminar el reposo hace perder eficiencia al sistema pues demora más el enfriamiento, puede aparecer el revenido y es posible que aumente la proporcion de granos cuarteados, segun Sabbah, M.A.; Foster, G.H.; Haugh, C.G. y Peart, R.M. (13).

Cuando se carga un silo cuyo llenado total va a consumir 8 a 10 horas, la aireación puede ser prendida cuando hayan transcurrido unas 4 a 5 horas de iniciada la carga. Esto permite ir llenando el silo con camadas de grano caliente de forma tal que la camada superior tiene suficiente tiempo de reposo antes que le llegue el frente frío (si la aireación se practica insuflando aire de abajo hacia arriba).


Indice - Precedente - Siguiente